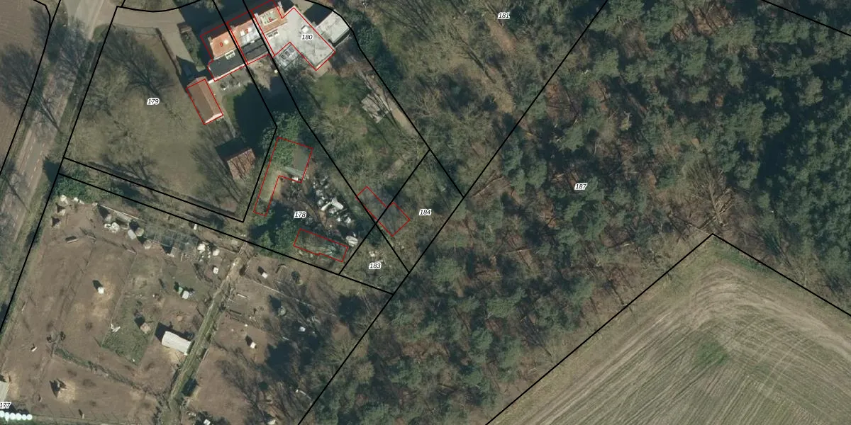
Perceel: BLE01-Q-184

Adres bij perceel

Geen adressen bij dit perceel

Perceeloppervlakte & perceelomtrek

287 m2 - 72 m

Eigenaar van het perceel

Eigenaar opvragen

Kadastrale aanduiding

BLE01-Q-184 (Baarle-Nassau)

Postcode in perceel

    Geen postcode aanwezig

Type eigenaar

5g87wAxgVEhrNPmAPlhVYMnsQuUpgrade naar KadastraleKaart Pro

Google Street View

Bekijk op Street View

Download

Download DWG/DXF/Excel

Gerelateerde percelen

GEw x5l2Ulq4n E4zVhXwnUpgrade naar KadastraleKaart Pro

Bebouwd/onbebouwd/water/groen

xyoLYaIIs3K4wjZ2z Upgrade naar KadastraleKaart Pro
Administratieve eenheden
x5k AlCxjMUpgrade naar KadastraleKaart Pro

Appartementsrechten

EGlFjgIS6qr2wtxeUpgrade naar KadastraleKaart Pro

Vergunningverlenende instanties

t1Sca pEgxUpgrade naar KadastraleKaart Pro

Bedekking (BGT)

tX2x wupD ZUpgrade naar KadastraleKaart Pro

Publiekrechtelijke beperkingen

dmwlD0bbjsKJUpgrade naar KadastraleKaart Pro

Grensnauwkeurigheid

Cq nuN JGQ3FNzRIUpgrade naar KadastraleKaart Pro

Coördinaten hoekpunten perceel

mK7d56HpWUpgrade naar KadastraleKaart Pro

Hoogteligging

Bd aUj6W159 6S5QXUpgrade naar KadastraleKaart Pro

Laatst gewijzigd

01/07/2009

Kadastrale kaart met maatvoering 59,95
Kadastrale kaart pakket 28,95

Percelen

Gebruik de zoekbalk of klik op een perceel om informatie over het perceel te bekijken.
Locatie
Meten
Lagen
Download