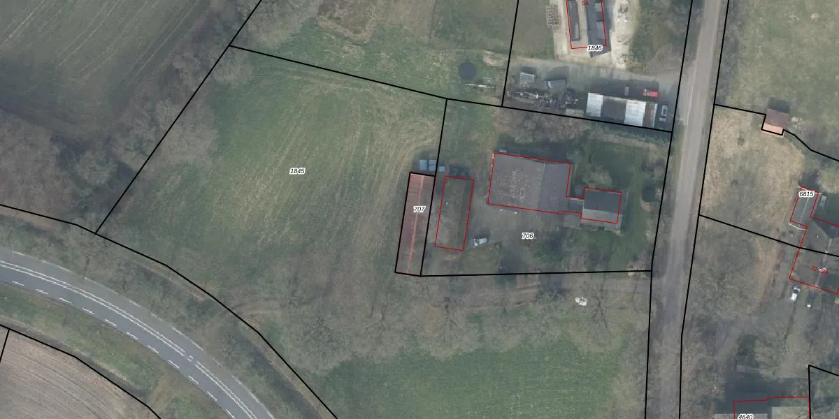
Perceel: HTN03-H-707

Adres bij perceel

Geen adressen bij dit perceel

Perceeloppervlakte & perceelomtrek

147 m2 - 60 m

Eigenaar van het perceel

Eigenaar opvragen

Kadastrale aanduiding

HTN03-H-707 (Holten)

Postcode in perceel

    Geen postcode aanwezig

Type eigenaar

II4koMankVQ8tP8dbPhTGI Lveo95w0Upgrade naar KadastraleKaart Pro

Google Street View

Bekijk op Street View

Download

Download DWG/DXF/Excel

Gerelateerde percelen

1gj VoZNIqUpgrade naar KadastraleKaart Pro

Bebouwd/onbebouwd/water/groen

Sd6DedChY1 Upgrade naar KadastraleKaart Pro
Administratieve eenheden
97tjCjnK DhCsZUpgrade naar KadastraleKaart Pro

Appartementsrechten

Gr pvt3sPjtbTD8 MD9rLUpgrade naar KadastraleKaart Pro

Vergunningverlenende instanties

KTJ9pVYhOUpgrade naar KadastraleKaart Pro

Bedekking (BGT)

dpDbLmUnfDhsUpgrade naar KadastraleKaart Pro

Publiekrechtelijke beperkingen

l6HdqxfAJ6UqDft7ecsmOgUpgrade naar KadastraleKaart Pro

Grensnauwkeurigheid

owfLEkZw IUpgrade naar KadastraleKaart Pro

Coördinaten hoekpunten perceel

hY4wnjQQk6Upgrade naar KadastraleKaart Pro

Hoogteligging

hYTr 0I07UMr0joPqUuUpgrade naar KadastraleKaart Pro

Laatst gewijzigd

17/02/2010

Kadastrale kaart met maatvoering 59,95
Kadastrale kaart pakket 28,95

Percelen

Gebruik de zoekbalk of klik op een perceel om informatie over het perceel te bekijken.
Locatie
Meten
Lagen
Download