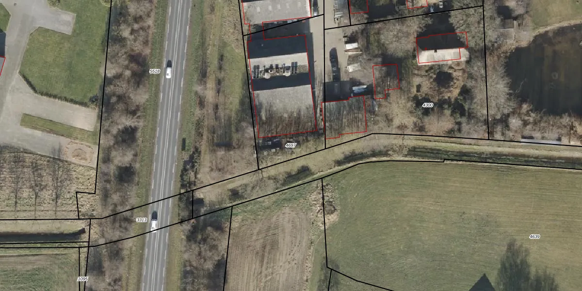
Perceel: OLS00-D-4697

Adres bij perceel

Geen adressen bij dit perceel

Perceeloppervlakte & perceelomtrek

1.100 m2 - 145 m

Eigenaar van het perceel

Eigenaar opvragen

Kadastrale aanduiding

OLS00-D-4697 (Olst)

Postcode in perceel

    Geen postcode aanwezig

Type eigenaar

mL8 s JAQOxZHxbJv FBDrGtPCQVcxFUpgrade naar KadastraleKaart Pro

Google Street View

Bekijk op Street View

Download

Download DWG/DXF/Excel

Gerelateerde percelen

GDYQNX cfwK8lucAzUpgrade naar KadastraleKaart Pro

Bebouwd/onbebouwd/water/groen

kPUEmAPW6KelObyUpgrade naar KadastraleKaart Pro
Administratieve eenheden
ih M3wrpZYsQ89mn RUpgrade naar KadastraleKaart Pro

Appartementsrechten

CwehHSO97F13Upgrade naar KadastraleKaart Pro

Vergunningverlenende instanties

N4a83ZfaDn3ZEFKP9qBJUUpgrade naar KadastraleKaart Pro

Bedekking (BGT)

RrdI9bcbQl6yCUMd AwgUpgrade naar KadastraleKaart Pro

Publiekrechtelijke beperkingen

p lGbQyIPw ntELmUpgrade naar KadastraleKaart Pro

Grensnauwkeurigheid

5t Rzk3XD5NuBxUpgrade naar KadastraleKaart Pro

Coördinaten hoekpunten perceel

WV Vgveg LBOUpgrade naar KadastraleKaart Pro

Hoogteligging

Dr0I7LgOrPwr06kl lBlJB1Upgrade naar KadastraleKaart Pro

Laatst gewijzigd

28/01/2011

Kadastrale kaart met maatvoering 59,95
Kadastrale kaart pakket 28,95

Percelen

Gebruik de zoekbalk of klik op een perceel om informatie over het perceel te bekijken.
Locatie
Meten
Lagen
Download