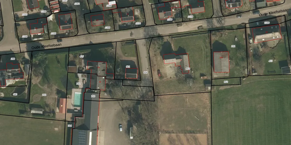
Perceel: OVA00-F-654

Adres bij perceel

Geen adressen bij dit perceel

Perceeloppervlakte & perceelomtrek

327 m2 - 125 m

Eigenaar van het perceel

Eigenaar opvragen

Kadastrale aanduiding

OVA00-F-654 (Overasselt)

Postcode in perceel

    Geen postcode aanwezig

Type eigenaar

tpuhGUfOdys1 wWMJjiNoUpgrade naar KadastraleKaart Pro

Google Street View

Bekijk op Street View

Download

Download DWG/DXF/Excel

Gerelateerde percelen

XT oYM9UM3Upgrade naar KadastraleKaart Pro

Bebouwd/onbebouwd/water/groen

nHv7FWejCsoUpgrade naar KadastraleKaart Pro
Administratieve eenheden
bK9wt9NDEIUpgrade naar KadastraleKaart Pro

Appartementsrechten

a r1USUs8KthheSc X95b7Upgrade naar KadastraleKaart Pro

Vergunningverlenende instanties

1XMfVHmYExNpUpgrade naar KadastraleKaart Pro

Bedekking (BGT)

m0yA0BMERUpgrade naar KadastraleKaart Pro

Publiekrechtelijke beperkingen

0o0yIfvCYk0USFHmSvUpgrade naar KadastraleKaart Pro

Grensnauwkeurigheid

NIVIeEwlF1gUpgrade naar KadastraleKaart Pro

Coördinaten hoekpunten perceel

R9XHkdImnJshMHdGGbccvfUpgrade naar KadastraleKaart Pro

Hoogteligging

t8 ujLJkTf2uNihFpYAUUpgrade naar KadastraleKaart Pro

Laatst gewijzigd

02/08/2012

Kadastrale kaart met maatvoering 59,95
Kadastrale kaart pakket 28,95

Percelen

Gebruik de zoekbalk of klik op een perceel om informatie over het perceel te bekijken.
Locatie
Meten
Lagen
Download