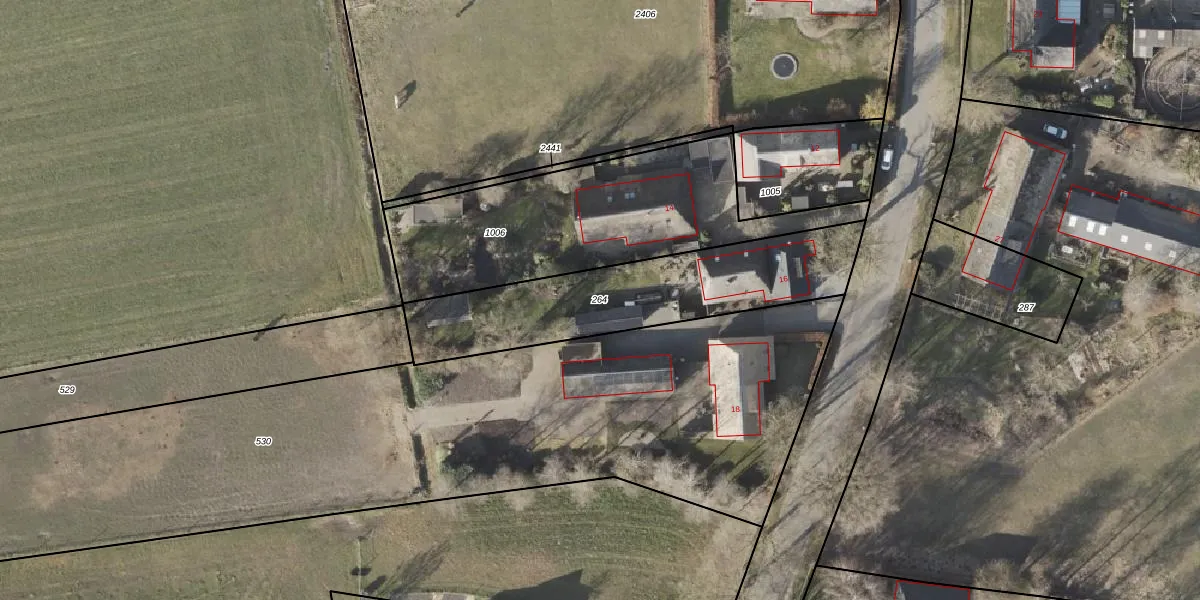
Perceel: SLE00-R-264

Adres bij perceel

Perceeloppervlakte & perceelomtrek

870 m2 - 174 m

Eigenaar van het perceel

Eigenaar opvragen

Kadastrale aanduiding

SLE00-R-264 (Sleen)

Postcode in perceel

    7843 PD

Type eigenaar

gIw137maK2NlHg1o aM79ZLUpgrade naar KadastraleKaart Pro

Woning verkocht in 2020

Verkoopprijs opvragen

Google Street View

Bekijk op Street View

Download

Download DWG/DXF/Excel

Gerelateerde percelen

apJunOmwNs7FwbUpgrade naar KadastraleKaart Pro

Bebouwd/onbebouwd/water/groen

sZP zNELUpgrade naar KadastraleKaart Pro
Administratieve eenheden
nr Vo71hCjNZhaUpgrade naar KadastraleKaart Pro

Appartementsrechten

LTBB6Thq o oGJLA9Upgrade naar KadastraleKaart Pro

Vergunningverlenende instanties

62jR0gT4Md fzRTEUpgrade naar KadastraleKaart Pro

Bedekking (BGT)

TGv63xXUXc 1iUpgrade naar KadastraleKaart Pro

Publiekrechtelijke beperkingen

3Lx aGIHs5GUpgrade naar KadastraleKaart Pro

Grensnauwkeurigheid

Uh6D jU2 6 eMUpgrade naar KadastraleKaart Pro

Coördinaten hoekpunten perceel

ZZcwXLfCL79ho6Wp5 DGUpgrade naar KadastraleKaart Pro

Hoogteligging

1gSj9lW4nOJUpgrade naar KadastraleKaart Pro

Laatst gewijzigd

08/11/2018

Kadastrale kaart met maatvoering 59,95
Kadastrale kaart pakket 28,95

Percelen

Gebruik de zoekbalk of klik op een perceel om informatie over het perceel te bekijken.
Locatie
Meten
Lagen
Download