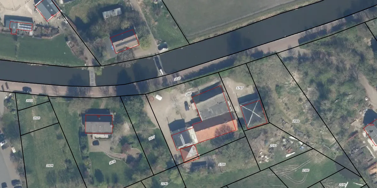
Perceel: SWK03-D-1281

Adres bij perceel

Geen adressen bij dit perceel

Perceeloppervlakte & perceelomtrek

1.566 m2 - 159 m

Eigenaar van het perceel

Eigenaar opvragen

Kadastrale aanduiding

SWK03-D-1281 (Stompwijk)

Postcode in perceel

    Geen postcode aanwezig

Type eigenaar

fit tiQgU 5GPN5V38KlNyCGUpgrade naar KadastraleKaart Pro

Google Street View

Bekijk op Street View

Download

Download DWG/DXF/Excel

Gerelateerde percelen

i48ghxwqhbJOzaXUpgrade naar KadastraleKaart Pro

Bebouwd/onbebouwd/water/groen

zE5n2v TWOfCmx6D9 9wHUpgrade naar KadastraleKaart Pro
Administratieve eenheden
OBZ x7P4Xc 4gy4rMiL SsUpgrade naar KadastraleKaart Pro

Appartementsrechten

a hx38lt2jn wqUpgrade naar KadastraleKaart Pro

Vergunningverlenende instanties

gMWQYiPQmcXUpgrade naar KadastraleKaart Pro

Bedekking (BGT)

EArR tvG4KLFwJTOoc d6rUpgrade naar KadastraleKaart Pro

Publiekrechtelijke beperkingen

6yST8Ot9MeXL9Upgrade naar KadastraleKaart Pro

Grensnauwkeurigheid

Fuloj4uVUpgrade naar KadastraleKaart Pro

Coördinaten hoekpunten perceel

zVtGcTuWZUAbV5Upgrade naar KadastraleKaart Pro

Hoogteligging

S9cmb VARrX LacgUpgrade naar KadastraleKaart Pro

Laatst gewijzigd

24/08/2006

Kadastrale kaart met maatvoering 59,95
Kadastrale kaart pakket 28,95

Percelen

Gebruik de zoekbalk of klik op een perceel om informatie over het perceel te bekijken.
Locatie
Meten
Lagen
Download