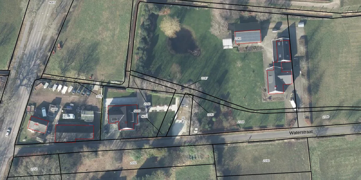
Perceel: VSN02-D-2147

Adres bij perceel

Geen adressen bij dit perceel

Perceeloppervlakte & perceelomtrek

193 m2 - 199 m

Eigenaar van het perceel

Eigenaar opvragen

Kadastrale aanduiding

VSN02-D-2147 (Vaassen)

Postcode in perceel

    Geen postcode aanwezig

Type eigenaar

r8b zLMvBNZL rkldDQEhQ6kSuSUpgrade naar KadastraleKaart Pro

Google Street View

Bekijk op Street View

Download

Download DWG/DXF/Excel

Gerelateerde percelen

kKlNVoB 0w3M X7 Upgrade naar KadastraleKaart Pro

Bebouwd/onbebouwd/water/groen

dhTGg3y6HvXKlV CB3Y5kUpgrade naar KadastraleKaart Pro
Administratieve eenheden
FUSpTG0Q VK2ETUpgrade naar KadastraleKaart Pro

Appartementsrechten

CdI0ikc7RpR1Ql2WUpgrade naar KadastraleKaart Pro

Vergunningverlenende instanties

beKQ r9MUpgrade naar KadastraleKaart Pro

Bedekking (BGT)

h5lgYuyVqypoaCFzP5Upgrade naar KadastraleKaart Pro

Publiekrechtelijke beperkingen

w 65GPrcb7HVMZZKNUpgrade naar KadastraleKaart Pro

Grensnauwkeurigheid

sFtFpN 41dUpgrade naar KadastraleKaart Pro

Coördinaten hoekpunten perceel

mV8Z0pD2qJ j9Upgrade naar KadastraleKaart Pro

Hoogteligging

0IrVfCjJNpLY3Upgrade naar KadastraleKaart Pro

Laatst gewijzigd

18/04/2002

Kadastrale kaart met maatvoering 59,95
Kadastrale kaart pakket 28,95

Percelen

Gebruik de zoekbalk of klik op een perceel om informatie over het perceel te bekijken.
Locatie
Meten
Lagen
Download